40 swisher pull behind mower parts diagram
Swisher 60 Inch Pull Behind Mower Belt Diagram. FINISH CUT. 44" & 60" TRAIL MOWERS. Swisher Mower during transportation of parts submitted for replacement or repair under this warranty shall Swisher dealer from whom you purchased the mower will be needed before any warranty . Keep your trailmower running nicely with Swisher's in ... Swisher 60 Inch Pull Behind Mower Belt Diagram. Keep your trailmower running nicely with Swisher's in. replacement belt. This replacement belt works with select Swisher 60 in. finish cut mowers. Swisher. manufacturer and in no way is Swisher or its agents responsible transportation of parts submitted for replacement or repair under this ...
cut on lawns .Your Trailcutter should be towed behind an ATV, golf cart, lawn tractor or other approved vehicle. It is not recommended for speeds exceeding 5 MPH. ATTACHING TRAILCUTTER TO TOW VEHICLE • Back vehicle up to desired towing position. • Offset the Trail Cutter to the side opposite the tow vehicle discharge (if any).

Swisher pull behind mower parts diagram
Swisher T11544 mower attachment parts - manufacturer-approved parts for a proper fit every time! We also have installation guides, diagrams and manuals to help you along the way! Sears Parts Direct. Please enter one or more characters ... Craftsman 917376742 gas walk-behind mower parts. OFFSET & CENTER TOW HITCH BAR ASSEMBLY 1. Lay out parts according to the diagram. 2. Insert part 661A into part 662 and pin with the hitch pin (H11). 3. Insert part 661 into part 661A. Choose from the 3 holes to set the desired hitch length. Pin with a hitch pin. 4. Part 662 slides into the front tube of the frame. Again, choose from the 3 ... Swisher RK1360 mower attachment parts - manufacturer-approved parts for a proper fit every time! We also have installation guides, diagrams and manuals to help you along the way!
Swisher pull behind mower parts diagram. Parts Diagrams (6) No parts found. Caster/wheel/hitch 3 Results Gas Tank/mower Deck/belt 3 Results Motor Base 3. Need a belt diagram for a swisher 44 inch cut pull behind mower#t emailadd. [email protected] thanks for your help. need abelt diagrame for a swisher 44 inch cut pull behind mower#t emailadd. have a ohv briggs and Stratton on a 44 ... Make sure the tow vehicle parking brake is set, mower is level, and blades are. Shop: Replacement Wheel Gauge for Select Swishe From $ (1 store) Mower Parts · Swisher 44 Trail Mower Swisher Pull Behind Mower Parts · See all. Shop for Swisher Model #T - Swisher 44" Finish Cut Trailmower Select a diagram to see associated parts. find quality OEM parts. For All Your Outdoor Power Equipment 800-816-5849 Buy Online and call or use the app when you arrive. We'll bring it to your car or truck. While shopping online, select "Contactless Curbside Pickup In Store" for eligible items. Select the store where you would like to pick up your items. Place your order and wait to receive a "Ready For Customer Pickup" e-mail.
This replacement belt works with select Swisher finish cut mowers. Swisher Belt. Returnable. Day. Used With Equipment Type. Pull-Behind Mower. transportation of parts submitted for replacement or repair under this warranty The 44" TrailMower is designed to produce a quality finish cut on lawns, golf courses, towed behind an ATV, golf cart, lawn tractor, or other approved vehicle. Awesome pc wiring diagram s best image engine cashsigns. I recently purchased a used 60 swisher pull behind mower with answered the small red wire goes up to the wiring harness that runs under the flywheel. 60 swisher tow behind trail mower engine wiring diagram. Insert part 661a into part 662 and pin with the hitch pin h11. Search for Your Swisher Model. Enter your Swisher model number below. Click the Search Button to See More Results. Parts lookup for Swisher power equipment is simpler than ever. Enter your model number in the search box above or just choose from the list below. How to FIND Your Swisher Model Number >. Swisher Mower and Machine Co. Inc. OD82-44 RUGGED CUT DECAL OD29-DANGER DECAL OD39-SWISHER FLAG DECAL ... WIRING DIAGRAM. FIGURE 11. Item # Description Part # 1 Battery Bracket Weldment 4909TK ... All mower parts listed herein may be ordered directly from
44" rough cut trail cutter owner's manual swisher mower, 1602 corporate drive, p.o. box 67, warrensburg, missouri 64093 phone (660) 747-8183 fax (660) 747-8650 SWISHER RT TRAILCUTTER Manual Online: Identification Of Wiring. WIRING HARNESS AT STARTER SOLENOID Red wire goes to the same terminal on. I recently purchased a used 60" swisher pull behind mower with - Answered the small red wire goes up to the wiring harness that runs under the flywheel. OFFSET & CENTER TOW HITCH BAR ASSEMBLY 1. Lay out parts according to the diagram. 2. Insert part 661A into part 662 and pin with the hitch pin (H11). 3. Insert part 661 into part 661A. Choose from the 3 holes to set the desired hitch length. Pin with a hitch pin. 4. Part 12543TC slides into the front tube of the frame. Choose from the 5 holes ... Swisher 60 Pull Behind Mower Belt Diagram If you're looking for swisher 60 pull behind mower belt diagram images information related to the swisher 60 pull behind mower belt diagram interest, you have pay a visit to the ideal site. Our website frequently gives you suggestions for seeking the maximum quality video and picture content, please kindly surf and locate more enlightening video ...
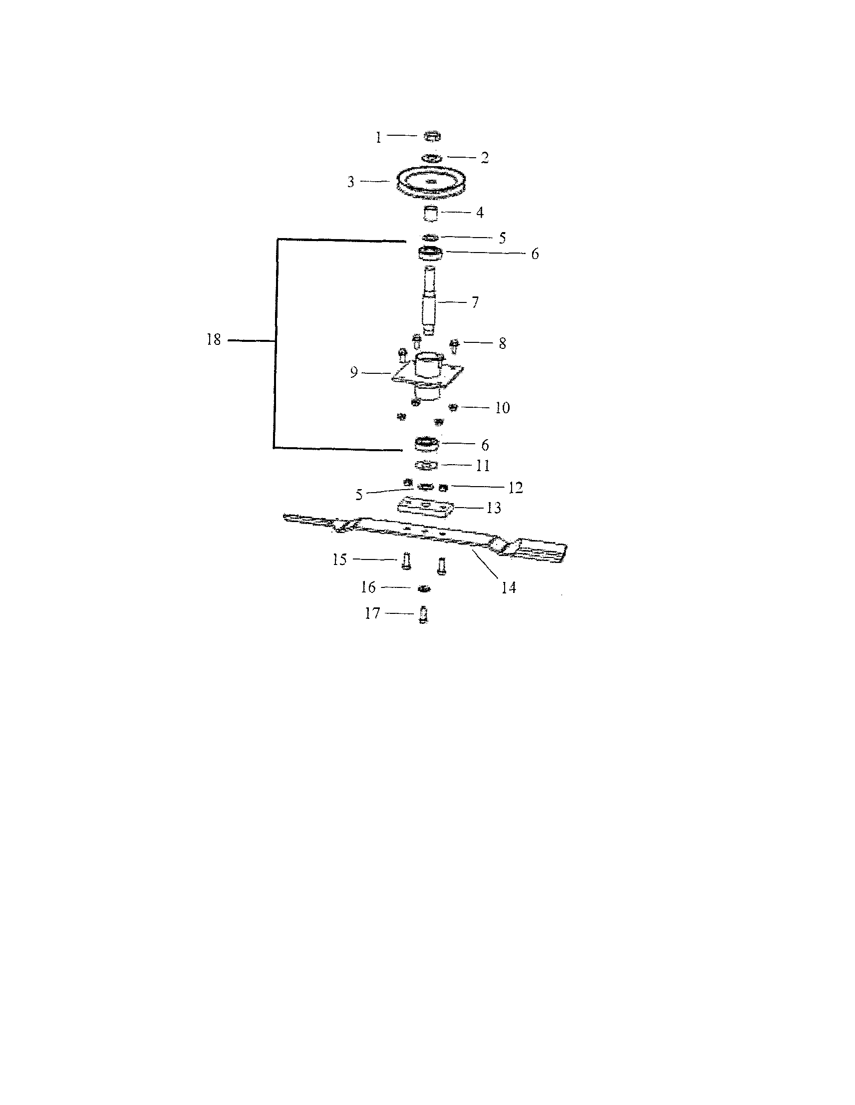
Swisher Mower and Machine Co. Inc. 5. Same for all three blade driver positions Blade Driver Assemblies Center -B99CCS Left -B99CLS Right -B99CS B98W B108LB B102 660S -single 660 -set (3) B102 B108L B108 B98 B100CS B9960 B98 NB179 (B104W) 687 AS155 NB175 (A108) For a complete set (minus the blade) for one blade driver order B100SK
TRAIL MOWER. OWNER'S. MANUAL. SWISHER ACQUISITION INC. 1602 CORPORATE DRIVE., WARRENSBURG MO 64093. PHONE 800-222-8183 FAX 660-747-8650 EMAIL ...16 pages
www.swisherinc.com. OWNER'S. MANUAL. STARTING. SERIAL. #:. LI I2-121001 ... Place mower behind vehicle and back vehicle up to desired attaching position.16 pages
accordance with the instructions contained within this manual. This warranty does not apply to any product of Swisher Mower Co., Inc., that has been.20 pages
OFFSET & CENTER TOW HITCH BAR ASSEMBLY 1. Lay out parts according to the diagram. 2. Insert part 661A into part 662 and pin with the hitch pin (H11). 3. Insert part 661 into part 661A. Choose from the 3 holes to set the desired hitch length. Pin with a hitch pin. 4. Part 662 slides into the front tube of the frame. Again, choose from the 3 holes to
Lawn Mower Parts New Genuine OEM Swisher Part # 9018 Blade Driver Assembly, 4.25" Shaft. 5.0 out of 5 stars 2. Save 11%. $102.53 $ 102. 53 $115.65 $115.65. Lowest price in 30 days. Get it Fri, Jan 21 - Tue, Jan 25. ... swisher pull behind mower parts swisher mower parts 44 inch ...
accordance with the instructions contained within this manual. This warranty does not apply to any product of Swisher Mower Co., Inc., that has been.16 pages
SWISHER 5058 Belt FITS T-60, FM-50 ZT2460, ZT2560, ZT2660 122 inch LAWN MOWER. $40.00. $5.99 shipping. or Best Offer.
This picture (I Recently Purchased A Used 60" Swisher Pull Behind Mower With) preceding will be labelled having: briggs and stratton hp engine wiring diagram, briggs and stratton 16 hp v-twin wiring diagram, briggs and stratton 20 hp v twin wiring diagram,. posted by means of wiringforums with August, 28 Did your Swisher model TB1 mower deck ...
Swisher mower parts diagram. Every Swisher product has a model and serial number on a silver decal. For the majority of our units, the model number will describe the traits of the machine. Large units, such as trail mowers, log splitters, Zero-Turn Riders, etc., start with one or two letters. Dec 23, 2018 · ENGINE TO DECK BELT •Lower the ...
Swisher T13560 mower attachment parts - manufacturer-approved parts for a proper fit every time! We also have installation guides, diagrams and manuals to help you along the way!
This item Swisher FC14560BS 14.5 HP 60-Inch Electric Start Tow Behind Finish Cut Mower Generac TB25044GENG Pro Tow-Behind Field and Brush Mower, Orange, Black EARTHQUAKE 37676 M605 Walk Behind String Mower with 163cc Briggs & Stratton, Red/Black
from Swisher Mower & Machine Co. Inc., your nearest Swisher dealer, or from our website. www.swisherinc.com All engine parts may be ordered from the nearest dealer of the engine supplied with your mower. WHEN ORDERING PARTS, PLEASE HAVE THE FOLLOWING INORMATION AVAILABLE: * PRODUCT - T-44 FINISH CUT TRAILMOWER * SERIAL NUMBER - _____
used. Trail Mowers equipped with an electric start engine will need a battery (sold separately). Swisher recommends using a standard "12N12A" battery. • Make sure the tow vehicle parking brake is set, mower is level, and blades are disengaged. Engine must be level to accurately check and fill oil. Do not overfill.
Swisher makes machines for outdoor use, producing items such as the high-wheeled gas line trimmers, walk-behind lawn mowers, log splitters, riding mowers and lawn tractors. There are a lot of moving parts on these machines that get worn with use.
Swisher RK1360 mower attachment parts - manufacturer-approved parts for a proper fit every time! We also have installation guides, diagrams and manuals to help you along the way!
OFFSET & CENTER TOW HITCH BAR ASSEMBLY 1. Lay out parts according to the diagram. 2. Insert part 661A into part 662 and pin with the hitch pin (H11). 3. Insert part 661 into part 661A. Choose from the 3 holes to set the desired hitch length. Pin with a hitch pin. 4. Part 662 slides into the front tube of the frame. Again, choose from the 3 ...
Swisher T11544 mower attachment parts - manufacturer-approved parts for a proper fit every time! We also have installation guides, diagrams and manuals to help you along the way! Sears Parts Direct. Please enter one or more characters ... Craftsman 917376742 gas walk-behind mower parts.
0 Response to "40 swisher pull behind mower parts diagram"
Post a Comment