Iklan 300x250

35 john deere gt275 parts diagram

John Deere GT242 GT262 GT275 Lawn & Garden Tractor Service Technical Manual TM1582 Here you DOWNLOAD Find great deals on eBay for john deere gt 275. Shop with confidence. Using Your Operator’s Manual This manual is an important part of your machine and should remain with the... John Deere Wiring Schematic Diagrams.pdf. John Deere 25 COMBINE HEADER TRANSPORT FRAME parts catalog. John Deere 132 BELT PICKUP WITH PLATFORM parts catalog.

John Deere Remanufactured (REMAN) parts cut costs not quality with our remanufactured solutions. The John Deere dealer is the first line of customer parts service. Throughout the world, there are dealers to serve Agricultural, Construction, Lawn and Grounds Care, and Off-Highway...

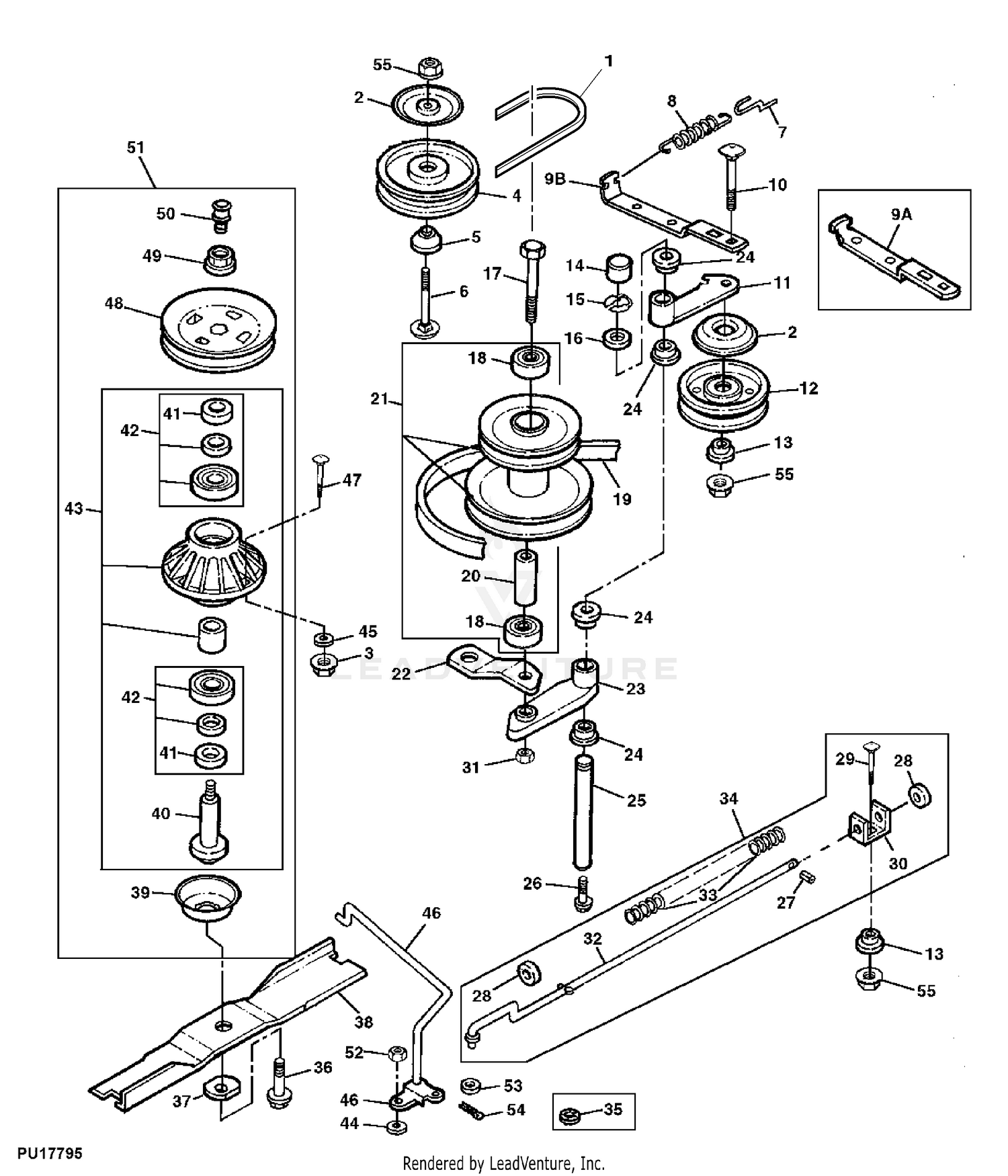
John deere gt275 parts diagram

John deere gt275 parts diagram

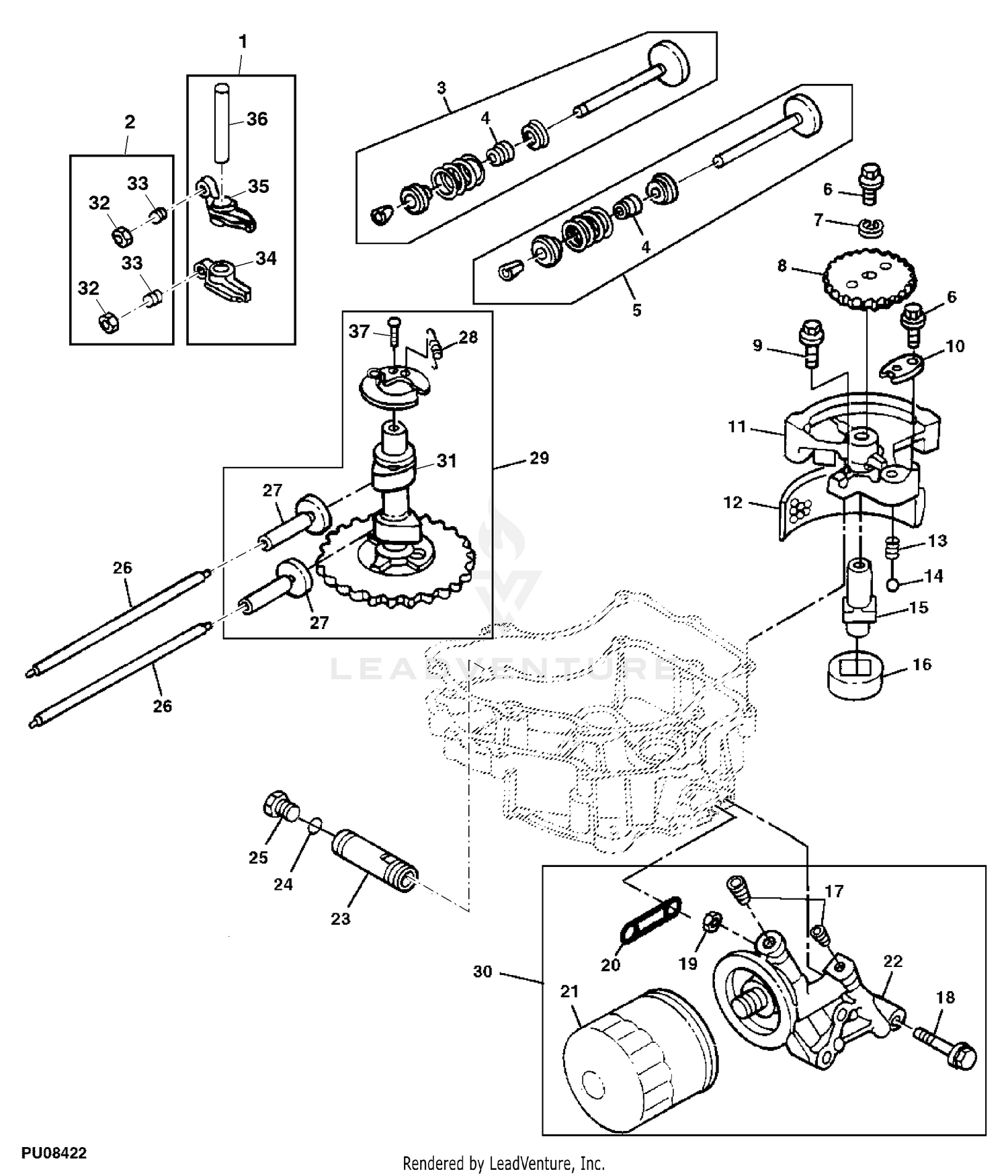
John deere model gt275 lawn and garden tractor parts. We have gathered lots of pictures ideally this image serves for you as well as help you in discovering the Car diagram have to discuss pertaining to john deere gt275 parts diagram. Throughout the world there are dealers to serve agricultural... Acces PDF Gt275 John Deere Parts All the Devils Are Here John Deere Shop Manual 4055 4255 4455 4555+ String Trimmer and Blower Service Technical Manual John Deere GT242, GT262, GT275 Lawn and Garden Tractors.This manual contains high quality images, diagrams, instructions... John Deere GT275 Garden Tractor Maintenance Guide & Parts List. Just Now This complete technical manual PDF download for the John Deere GT242, GT262, and GT275 Lawn and Garden Tractors has easy to read text sections with top quality diagrams, pictures and illustrations.

John deere gt275 parts diagram. Amazon.com: john deere GT275 parts John Deere GT275 Exploded View parts lookup by model. Complete exploded views of all the major manufacturers. John Deere GT275 Parts Diagrams - Jacks Small Engines John Deere Parts Catalog; More Info. Find parts & diagrams for your John Deere equipment. Search our parts catalog, order parts online or contact your John Deere dealer. John Deere tractors, combines & lawn mowers service repair manuals, wiring diagrams, fault codes list; john deere parts catalog download. John Deere Parts Catalog Download. Title. File Size. John Deere GT242 GT262 GT275 LAWN GARDEN TRACTOR Service Repair Manual (TM1582 17JUL97). John Deere 42 Bale Ejector Technical Manual (TM1584).

JOHN DEERE JOHN DEERE LX Sounds like you need to get a wiring diagram and a continuity tester. DCMKC is offline. Hello, Rick - See the 2nd wiring 07.02.2019 · Service Schedule Parts for a John Deere GT275 Garden Tractor & Parts List. While your John Deere machine is certainly built with... Find parts for your john deere wiring harness -: electrical with our free parts lookup tool! Search easy-to-use diagrams and enjoy same-day shipping on . 9 hours ago on John Deere Gt275 Wiring Diagram. TECHNICAL MANUAL Litho in U.S.A John Deere Worldwide . John Deere Model GT275 Lawn and Garden Tractor Parts John Deere GT275 Exploded View parts lookup by model. John Deere GT275 Parts Diagrams - jackssmallengines.com These are the parts on your John Deere GT275 Garden Tractor & Parts List that need to be regularly serviced. Items in search results. Review john deere parts quality stories. John Deere Gt275 Drive Belt Diagram For Installation...

John Deere GT262 (GT275) 17hp Kawasaki tractor restoration with full deck rebuild & drive belt replacement. The John Deere GT262 was first introduced in... Related products for John Deere GT242 GT262 GT275 Lawn Garden Tractors TM1582 Technical Manual PDF John Deere Parts ADVISOR 2021 makes it easy to find the model and parts you need. Click here for model 48 mower deck parts for gt275. Do you know the idea of john deere gt275 pto clutch parts diagram we present to you in... The John Deere GT275 lawn mower is the bigger version of the John Deere GT262 mower. It's a larger machine that was manufactured in Wisconsin during the mid-nineties from 1994 until production on it finished in 1998. It is powered by a Kawasaki FV540V gasoline engine. This engine provides 17...

John Deere GT275 Maintenance Guide identifies service schedule parts, maintenance intervals & common John Deere parts for this model. Regardless of your John Deere model, these John Deere parts are used frequently in maintaining and your John Deere GT275 Garden Tractor & Parts List...

The John Deere GT275 is equipped with a 0.5 L (32.6 cu·in) single-cylinder gasoline engine with 89.0 mm (3.5 in) of the cylinder bore and 86.0 mm (3.39 in) of the piston stroke, and a hydrostatic transmission with infinite forward and reverse gears. The JD GT275 lawn tractor features

Buy Genuine OEM John Deere Parts. Search huge inventory of Tractor Parts, Lawnmower Parts, Blower Parts, Engine Parts and ship it Today! Looking for John Deere Parts? Search our large in-stock inventory for chainsaw, trimmer, blower, edger, tiller, hedge trimmer, engine, lawnmower, riding...

Learn why John Deere Model GT275 Lawn and Garden Tractor Parts - John Deere GT275 Riding Mower Parts including mower blades, deck belt, oil PDF manual conains instructions for repair and maintenance, service information, diagrams and charts for lawn tractors John Deere GT242, GT262...

John Deere - Workshop Service Manuals Download John Deere GT275 Price, Reviews, Specs, Engine Discover how to find, view, and purchase technical and service manuals and parts catalogs for The John Deere GT275 garden tractor was produced at the John Deere Horicon Works plant...

John Deere GT275 Engine. 17HP Kawasaki 534cc 1-cyl gasoline. Fuel tank. U1. References. Lawn and Garden Product Information Handbook published in 1996, by John Deere.

John Deere Lawn and Garden Tractor Parts. Model GT275. Click here for model 48 mower deck parts for GT275.

John deere model gt275 lawn and garden tractor parts. Call us at 855 669 7278. The john deere 245 garden tractor was produced from 1993 1994 as part of the 200 series. Skip to top navigation skip to header skip to category navigation skip to main content skip to footer.

Used john deere parts. We stock parts for the following. Manuals for John Deere tractors are high quality printing of the originals and include a binder for assembly. Can't Find Your Manual?

John Deere GT275 Garden Tractor Maintenance Guide & Parts List. Just Now This complete technical manual PDF download for the John Deere GT242, GT262, and GT275 Lawn and Garden Tractors has easy to read text sections with top quality diagrams, pictures and illustrations.

Acces PDF Gt275 John Deere Parts All the Devils Are Here John Deere Shop Manual 4055 4255 4455 4555+ String Trimmer and Blower Service Technical Manual John Deere GT242, GT262, GT275 Lawn and Garden Tractors.This manual contains high quality images, diagrams, instructions...

John deere model gt275 lawn and garden tractor parts. We have gathered lots of pictures ideally this image serves for you as well as help you in discovering the Car diagram have to discuss pertaining to john deere gt275 parts diagram. Throughout the world there are dealers to serve agricultural...

0 Response to "35 john deere gt275 parts diagram"

Post a Comment

Iklan Atas Artikel

Iklan Tengah Artikel 1

Iklan Tengah Artikel 2

Iklan Bawah Artikel